Mini models of the SDA SRS. i need help with crossovers.
Lerjebrink
Posts: 5
Hi everyone! I am building miniature versions of my SDA SRS speakers. I would like to have some pro help in my project. I have ordered mid and tweeters, and i am going to design the crossovers now.
I don't even know where to start. Every calculator is for 2-way systems, but i want to include SDA in the speakers. I know that it is impossible to get it exactly right with these components, but i want to try to get it as close as i can.
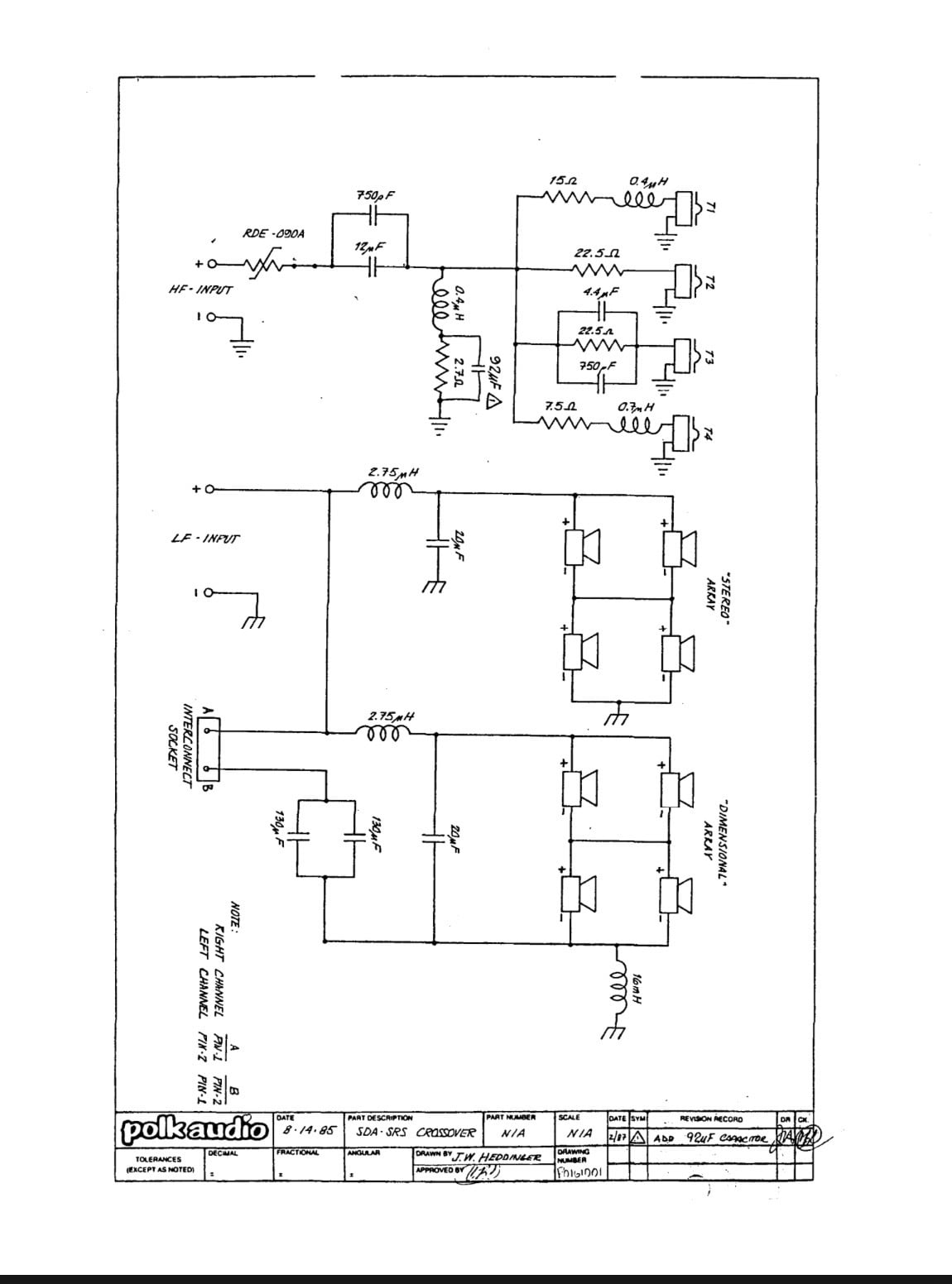
Down below are some images of the original wiring scheme with all the component values, and also the new speakers/tweeters for my mini build, along with pictures of the original speaker/tweeter specs.





Please message me or answer here in the discussion.
I don't even know where to start. Every calculator is for 2-way systems, but i want to include SDA in the speakers. I know that it is impossible to get it exactly right with these components, but i want to try to get it as close as i can.
Down below are some images of the original wiring scheme with all the component values, and also the new speakers/tweeters for my mini build, along with pictures of the original speaker/tweeter specs.





Please message me or answer here in the discussion.
Comments
-
OH BOY !!
-
Step #1 - Order a white lab coat on TEMU.
-
If you want smaller SDA speakers find a pair of SDA CRS+. Otherwise, you are wasting time and money.Political Correctness'.........defined
"A doctrine fostered by a delusional, illogical minority and rabidly promoted by an unscrupulous mainstream media, which holds forth the proposition that it is entirely possible to pick up a t-u-r-d by the clean end."
President of Club Polk -
The front baffle of full sized SDA's play a part, not sure how'd you even calculate that. I'm sure you could make min-replica's after much time, expense and effort. But they will not sound anything...........anything like larger SDA's. They might not even sound good playing 2ch music.
What size passives are you using and how are you calculating the volume of the cabinet? How do you know your mini driver choices will even excite the PR enough to get the freq response nec? That's one of hundreds of questions.........
The drivers that create the SDA have to mathematically be positioned a certain distance apart. How wide is the front baffle on your mini's? Thats why CRS's are on their sides.
It's a waste of time and money
H9"Appreciation of audio is a completely subjective human experience. Measurements can provide a measure of insight, but are no substitute for human judgment. Why are we looking to reduce a subjective experience to objective criteria anyway? The subtleties of music and audio reproduction are for those who appreciate it. Differentiation by numbers is for those who do not".--Nelson Pass Pass Labs XA25 | EE Avant Pre | EE Mini Max Supreme DAC | MIT Shotgun S1 | Puritan Audio PSM136 Pwr Condtioner & Classic PC's | Legend L600 | Roon Nucleus 1 w/LPS - Tubes add soul! -
The old SDA's are an acoustic experience. It can't be scaled smaller easily because certain physical parameters and ratios of those parameters are needed for the process to work effectively. SDA- CRS's are about the smallest you can go physically.
If this were an electronic issue it would still be difficult, but perhaps with enough knowledge, they could be scaled down to somewhat work.
Polk makes sound bars with an electronic algorithm (along with some physical attributes) that simulates the acoustics of SDA. Honestly my soundbar is like that, and it's not very convincing.
H9"Appreciation of audio is a completely subjective human experience. Measurements can provide a measure of insight, but are no substitute for human judgment. Why are we looking to reduce a subjective experience to objective criteria anyway? The subtleties of music and audio reproduction are for those who appreciate it. Differentiation by numbers is for those who do not".--Nelson Pass Pass Labs XA25 | EE Avant Pre | EE Mini Max Supreme DAC | MIT Shotgun S1 | Puritan Audio PSM136 Pwr Condtioner & Classic PC's | Legend L600 | Roon Nucleus 1 w/LPS - Tubes add soul! -
I had to go back and look to see if this was posted on April 1st.

H9"Appreciation of audio is a completely subjective human experience. Measurements can provide a measure of insight, but are no substitute for human judgment. Why are we looking to reduce a subjective experience to objective criteria anyway? The subtleties of music and audio reproduction are for those who appreciate it. Differentiation by numbers is for those who do not".--Nelson Pass Pass Labs XA25 | EE Avant Pre | EE Mini Max Supreme DAC | MIT Shotgun S1 | Puritan Audio PSM136 Pwr Condtioner & Classic PC's | Legend L600 | Roon Nucleus 1 w/LPS - Tubes add soul! -
As long as the centers of the MW drivers are the listener's ear-to-ear width, the IACC will be achieved.
Would be fun to see a full build thread here.
Welcome to the gauntlet.Don't take experimental gene therapies from known eugenicists. -
I recall a member built a homemade pair of very large SDA speakers years ago with MWxxxx drivers properly spaced. By all of the many accounts they sounded like crap.Political Correctness'.........defined
"A doctrine fostered by a delusional, illogical minority and rabidly promoted by an unscrupulous mainstream media, which holds forth the proposition that it is entirely possible to pick up a t-u-r-d by the clean end."
President of Club Polk -
He's not using MW drivers and to me "mini" means smaller than CRS's.
I guess the OP needs to define what 'Mini" means. He's showing 2" speakers
H9"Appreciation of audio is a completely subjective human experience. Measurements can provide a measure of insight, but are no substitute for human judgment. Why are we looking to reduce a subjective experience to objective criteria anyway? The subtleties of music and audio reproduction are for those who appreciate it. Differentiation by numbers is for those who do not".--Nelson Pass Pass Labs XA25 | EE Avant Pre | EE Mini Max Supreme DAC | MIT Shotgun S1 | Puritan Audio PSM136 Pwr Condtioner & Classic PC's | Legend L600 | Roon Nucleus 1 w/LPS - Tubes add soul! -
Found them.

Political Correctness'.........defined
"A doctrine fostered by a delusional, illogical minority and rabidly promoted by an unscrupulous mainstream media, which holds forth the proposition that it is entirely possible to pick up a t-u-r-d by the clean end."
President of Club Polk -
So…
Just a disclaimer. This build is just an homage to my real pair. I know nothing will be exactly right, because of MANY factors. But i kinda want to try to get it as close as i can, just for fun, just for the nerdiness.
My first thought was a usual 2-way crossover, and to scrap the SDA totally. But… then i thought. Why not make it as close as possible?
So.
Im taking every measurement and multiplying by 0.35. This results in 2 inch drivers instead of 6.5 inch. And the passive radiator in the bottom will be a 5.25 inch.
I think i will buy one seperate 8 inch Sub to carry the heavy hz, so that won’t be a problem.
In mm it will be 577.5mm in height, 192.5 in width, and 115.5mm in depth. Mostly made of MDF, and the top and bottom in pure oak.
The SDA cable will be a gold plated 3.5mm AUX just for simplicity.
I know i make trouble for myself by buying no-name speakers off amazon. But i don’t want the homage minispeakers to cost more than the original speakers… lol.
i think with the right crossover, i can make it kind of playable. At least i want to try!
I Will keep you guys updated. As soon as i get speakers and tweeters in the mail I Will start with the cabinets. -
-
-
Yep, Ben."Appreciation of audio is a completely subjective human experience. Measurements can provide a measure of insight, but are no substitute for human judgment. Why are we looking to reduce a subjective experience to objective criteria anyway? The subtleties of music and audio reproduction are for those who appreciate it. Differentiation by numbers is for those who do not".--Nelson Pass Pass Labs XA25 | EE Avant Pre | EE Mini Max Supreme DAC | MIT Shotgun S1 | Puritan Audio PSM136 Pwr Condtioner & Classic PC's | Legend L600 | Roon Nucleus 1 w/LPS - Tubes add soul!
-
Lerjebrink wrote: »

About the best that could come of that small homage design would be to have a pair of functional standard stereo speakers with unnecessary drivers that look like SDAs but aren't. Stereo Dimensional Arrays don't work that small even for a head the size of a house cat's.
No harm in experimenting though. -
I think for the IACC to work the stereo and dimensional speakers center to center distance should be at least the distance between your ears. You will have only 3.6 in. Not trying to be negative but it is something to consider.George / NJ
Polk 7B main speakers, std. mods+ (1979, orig owner)
Martin Logan Dynamo sub w/6ft 14awg Power Cord
Onkyo A-8017 integrated
Logitech Squeezebox Touch Streamer w/EDO applet
iFi nano iDSD DAC
iPurifier3
iDefender w/ iPower PS
Custom Steve Wilson 1m UPOCC Interconnect
iFi Mercury 0.5m OFHC continuous cast copper USB cable
Custom Ribbon Speaker Cables, 5ft long, 4N Copper, 14awg, ultra low inductance
Custom Vibration Isolation Speaker Stands and Sub Platform -
Correct! ^^^^^Gardenstater wrote: »I think for the IACC to work the stereo and dimensional speakers center to center distance should be at least the distance between your ears.
I do agree with @Emlyn, no harm in creating a mini set of stereo speakers similar to the big boys. Creating a mini SDA is not going to happen. -
If you can get the center to center distance of MWs 145-170mm from each other, IACC will work assuming your head is positioned in proportion to the SDA setup diagram.Don't take experimental gene therapies from known eugenicists.
-
Nothing technical to add, but I like the enthusiasm, curiosity, and creativity driving this idea, and that it's coming out of your immense appreciation for your SDA SRS, even if it winds up on Facebook Marketplace in the end.I disabled signatures.
-
Paying "homage" to them would be better spent by modding those sda's. A good start would be tweeters, perhaps aluminum tweeter bezels, bh5, dynamat and VR3 crossovers if you're actually serious. Of course better electronics would also pay a nice "homage" and yield a nice return but hey it's your time and money.
Better yet apply those soon to be wasted resources to a pair of 1.2tls with a dreadnaught. -
You guys have a point. If the SDA effect depends on the distance, it is game over for the sda idea.
My first thought now is to instead do a 2-way. But i wonder.. should i do a real 2way or should i try to make the tweeters seperate like the original? And if i do that, should i do the same for the mids? Or should i just aim for a regular 2-way -
Even at @100mm distance (as you have in your tech drawing). The IACC will be there, just diminished, soundstage not even as wide as a set of 2B's.
If you do build them, you may find the highs sounding better than the SL2000's.Don't take experimental gene therapies from known eugenicists. -
On my desktop I ran a separate integrated amp and threw some drivers beside the monitors and setup a quick and dirty sda arrangement and it honestly added to the stereo image in that environment and you could control the volume of the sda drivers thru the integrated.
The further out you place the sda drivers the wider and more diffuse the stage becomes- Not Tom ::::::: Any system can play Diana Krall. Only the best can play Limp Bizkit. -
You should have posted this on April 1st. It would have made more sense. You should also build a mini Matthew Polk in a white lab coat that you can stand next to them. I have to admit though, you do have good taste in brandy.Lerjebrink wrote: »

Gustard X26 Pro DAC
Belles 21A Pre Upgraded with Mundorf Supremes
B&K M200 Sonata monoblocks refreshed and upgraded
Polk SDA 1C's modded / 1000Va Dreadnaught
Wireworld Silver Eclipse IC's and speaker cables
Harman Kardon T65C w/Grado Gold. (Don't laugh. It sounds great!)
There is about a 5% genetic difference between apes and men …but that difference is the difference between throwing your own poo when you are annoyed …and Einstein, Shakespeare and Miss January. by Dr. Sardonicus -
Lerjebrink wrote: »You guys have a point. If the SDA effect depends on the distance, it is game over for the sda idea.
My first thought now is to instead do a 2-way. But i wonder.. should i do a real 2way or should i try to make the tweeters seperate like the original? And if i do that, should i do the same for the mids? Or should i just aim for a regular 2-way
Remember, the multi tweeters in SDA's are progressive point source, so you'd have to figure that out. Running multiple tweets at full output would kill any imaging and sound stage in a recording.
Side by side drivers are evil too, lots of combing effect. That's why the 10B's have issues that the 5B and 7B don't have. SDA gets away with it because they aren't all playing the same freq at the same output level.
H9"Appreciation of audio is a completely subjective human experience. Measurements can provide a measure of insight, but are no substitute for human judgment. Why are we looking to reduce a subjective experience to objective criteria anyway? The subtleties of music and audio reproduction are for those who appreciate it. Differentiation by numbers is for those who do not".--Nelson Pass Pass Labs XA25 | EE Avant Pre | EE Mini Max Supreme DAC | MIT Shotgun S1 | Puritan Audio PSM136 Pwr Condtioner & Classic PC's | Legend L600 | Roon Nucleus 1 w/LPS - Tubes add soul! -
You mean not 20+ feet wide like I got from mine.soundstage not even as wide as a set of 2B's.Political Correctness'.........defined
"A doctrine fostered by a delusional, illogical minority and rabidly promoted by an unscrupulous mainstream media, which holds forth the proposition that it is entirely possible to pick up a t-u-r-d by the clean end."
President of Club Polk -
You mean not 20+ feet wide like I got from mine.soundstage not even as wide as a set of 2B's.
Agree, he'd get like 10, maybe 12 ft wide soundstage. But at near-field/desktop, could be incredible.
SDA-10B's also throw the same width soundstage as 2B's FYI.Don't take experimental gene therapies from known eugenicists. -
Found them.

I rember those from way back. I had looked for the post but couldn't find it. ThanksStan
Main 2ch:
Polk LSi15 (DB840 upgrade), Parasound: P/LD-1100, HCA-1000A; Denon: DVD-2910, DRM-800A; Benchmark DAC1, Monster HTS3600-MKII, Grado SR-225i; Technics SL-J2, Parasound PPH-100.
HT:
Marantz SR7010, Polk: RTA11TL (RDO198-1, XO and Damping Upgrades), S4, CS250, PSW110 , Marantz UD5005, Pioneer PL-530, Panasonic TC-P42S60
Other stuff:
Denon: DRA-835R, AVR-888, DCD-660, DRM-700A, DRR-780; Polk: S8, Monitor 5A, 5B, TSi100, RM7, PSW10 (DXi104 upgrade); Pioneer: CT-6R; Onkyo CP-1046F; Ortofon OM5E, Marantz: PM5004, CD5004, CDR-615; Parasound C/PT-600, HCA-800ii, Sony CDP-650ESD, Technics SA 5070, B&W DM601 -
Here is a small update for you guys














